Уминский С.М., Якимов А.А., Бовнегра Л.В., Барчанова Ю.С., Шихирева Ю.В.
Одесса, Украина
Аналитические исследования станочного зацепления инструмента и заготовки позволили получить расчетные зависимости для определения параметров настройки технологической системы, учитывающих переточки инструмента в процессе работы.

Annotation
The way of reception of longitudinal updating tools is described I shaving without use special adaptations and has attached. The settlement dependences for definition of a corner of axes submission are given which provide achievement of longitudinal updating tools
Зубчатая передача — один из наиболее распространенных узлов в конструкции современных механизмов и машин. Производство зубчатых колес налажено во всех отраслях машиностроения, причем более 70 % всех выпускаемых изделий отличаются повышенной точностью: их зубчатый венец проходит специальную финишную обработку.
В настоящее время требования к повышению производительности, точности и качества обработки, а также необходимость снижения трудоемкости обеспечили широкое распространение финишной обработки зубчатых венцов методами свободного обката при скрещивающихся осях — шевингованием и хонингованием. Рассмотрим операции, используемые в процессе изготовления и обработки зубчатых колес, наиболее распространенные в автотракторном производстве, авиа-и станкостроении.
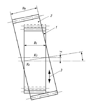
Максимальную производительность отделки обеспечивают способы шевингования с подачей инструмента под углом к оси заготовки (Калашинков С. Н, Калашников А. С. Изготовление зубчатых колес. М.: Высшая школа, 1985. 223 с.). В настоящее время в машиностроении получили распространение пять методов шевингования зубчатых колес — продольное, диагональное, тангенциальное, «короткого хода» и врезное. Метод тангенциального шевингования характеризуется наличием касательной подачи, направленной перпендикулярно оси обрабатываемого колеса (рис. 1).

Рис. 1. Схема тангенциального шевингования:
1 — заготовка, 2 — шевер, 3 — подача заготовки, Ʃ — угол скрещивания осей шевера и заготовки
При таком методе отделки центр скрещивания перемещается вдоль поверхности зуба шевера, вследствие чего износ режущих кромок происходит равномерно, стойкость инструмента повышается. Значительные усилия, возникающие при обработке, вызывают упругие деформации элементов технологической системы, величина которых уменьшается с увеличением числа проходов.
При сближении шевера и обрабатываемого колеса в результате радиальной подачи образуется пятно контакта. Кроме того, в процессе обработки форма и размеры зуба постоянно меняются, что приводит к непрерывному изменению условий контакта рабочих поверхностей шевера и заготовки (Сухоруков Ю. Н. Влияние деформации систем на точность процесса шевингования зубчатых колес методом тангенциальной подачи. Передовой научно-технический опыт. 1983. № 6-63-285/34. С. 35–45; Марков А. Л. Измерение зубчатых колес (допуски, методы и средства контроля). Л.: Машиностроение, 1968. 308 с.). Это приводит к изменению положения центра скрещивания и возникновению погрешности направления зуба.
Кроме того, при определении параметров настройки и расчете ширины венца инструмента необходимо учитывать, наряду с геометрическими параметрами станочного зацепления, их изменения, возникающие в результате переточек инструмента. В период врезания шевера в обрабатываемую заготовку величина удаляемого припуска максимальна, что приводит к увеличению пятна контакта и росту усилия резания до максимального значения, после которого уже не происходит внедрение режущих зубцов шевера в деталь.
На этой стадии шевер своим делительным цилиндром перекатывается по делительному цилиндру обрабатываемой заготовки. В начале рабочего хода угол скрещивания осей шевера и заготовки Ʃ не равен расчетному углу скрещивания Ʃ (имеет место перекос осей шевера и заготовки), а образующая делительного цилиндра шевера составляет угол ΔV (непараллельность осей), то есть имеет место комбинированный перекос осей заготовки и инструмента (Люкшин В. С. Теория винтовых поверхностей в проектировании режущих инструментов. М.: Машиностроение, 1967. 372 с.).
Расчетные зависимости для определения угла непараллельности осей, перекоса осей шевера и заготовки имеют вид:

В процессе обработки тангенциальным шевингованием максимального значения угол ΔV достигает при врезании и выходе шевера и приближается к нулевому значению при максимальных деформациях технологической системы. Длина пятна контакта в этом случае уменьшается, что приводит к врезанию режущих зубцов шевера на большую глубину в начале и конце цикла обработки. Длина пятна контакта является функцией параметров станочного зацепления, а для случая обработки тангенциальным методом шевингования длина линии контакта будет составлять не менее половины ширины зуба заготовки (Уминский С. М. Исследование влияния параметров станочного зацепления на точность отделки при шевинговании методом тангенциальной подачи//Физические и компьютерные технологии в народном хозяйстве: труды 8‑й Международной научно-технической конференции. Харьков: ХНПК, 2003. С. 56–61; Соколов В. Н. Повышение эффективности шевингования зубчатых колес. Сборник 1: Пути повышения точности обработки зубчатых колес. М.: Машгиз, 1954). Погрешность направления зуба в этом случае определяется зависимостью:

где Fᵦ — погрешность направления зуба, мм;
α — нормальный угол зацепления, град;
b₁ — ширина зубчатого венца заготовки, мм;
ΔV — величина угла непараллельности осей, град.
Приведенные на рис. 2 и рис. 3 графики показывают изменение погрешности направления зуба в зависимости от радиуса делительной окружности заготовки и изменения расчетного угла скрещивания осей.

Рис. 2. Погрешность направления зуба в зависимости от радиуса делительной окружности заготовки

Рис. 3. Погрешность направления зуба в зависимости от изменения расчетного угла скрещивания осей
На рис. 4 — рис. 6 представлены графики, характеризующие увеличение ширины впадины при комбинированном перекосе и изменении расчетного угла скрещивания (Δ ∑= 10 мин; Δ ∑=20 мин; Δ ∑=40 мин). Кроме того, точность обработки при шевинговании определяется радиусом основной окружности заготовки, торцовым углом зацепления в полюсе, торцевым углом давления у головки зуба. Переточки и износ шевера в значительной степени влияют на величину угла зацепления в полюсе, его величина может уменьшаться с 22˚ (для нового инструмента) до 17˚ (после нескольких переточек) (Сухоруков Ю. Н., Евстигнеев Р. И. Инструменты для обработки зубчатых колес методом свободного обката. Киев: Техника, 1983. 120 с.).

Рис. 4. Увеличение ширины впадины при комбинированном перекосе и изменении расчетного угла скрещивания Δ ∑ = 10 мин.
Рис. 5. Увеличение ширины впадины при комбинированном перекосе и изменении расчетного угла скрещивания Δ ∑ = 20 мин.

Рис. 6. Увеличение ширины впадины при комбинированном перекосе и изменении расчетного угла скрещивания Δ ∑ = 40 мин.
Поэтому, с целью исключения появления необработанных участков у торцов зубьев, в расчетных зависимостях для определения ширины венца инструмента необходимо учитывать минимальное значение величины αat1. Для случая тангенциального шевингования расчетная зависимость имеет вид:
Проведенные аналитические и экспериментальные исследования позволяют сделать вывод о том, что возникающие в начале и конце цикла обработки деформации технологической системы приводят к изменению угла скрещивания осей шевера и заготовки и, как следствие, — к возникновению погрешности направления зуба. Изменение величины удаляемого припуска в процессе обработки при водит к смещению пятна контакта вдоль зуба заготовки. Наибольшая погрешность направления зуба соответствует заготовкам, имеющим наибольшее радиальное биение. Уменьшение погрешности направления зуба достигается при увеличении числа зубьев инструмента.
Аналитические исследования станочного зацепления инструмента и заготовки при скрещивающихся осях позволили получить расчетные зависимости для определения параметров настройки технологической системы, учитывающие переточки инструмента в процессе обработки.