Уминський С. М.,
Якімов О. О.,
Бовнегра Л. В.,
Барчанова Ю. С.,
Павлишко А. В.,
Одеський національний політехнічний університет

У багатьох сучасних гідравлічних приводах використовуваються шестеренні насоси із зовнішнім зубчастим зачепленням, які відрізняються конструктивною простотою, компактністю, надійністю та невисокими вимогами до чистоти робочої рідини. Значний вплив на технічні характеристики цих насосів виявляє технологія виготовлення зубчастих коліс.
Евольвентні зубчасті колеса можна нарізати зі значним зміщенням інструменту для досягнення високих характеристик передачі при мінімальній масі коліс [Якімов О., Уминський С., Кліменко Н., Бовнегра Л., Шихирева Ю. Забезпечення якості виготовлення зубчастих передач в енергомашинобудуванні. Аграрний вісник Причорномор’я. 2019. Вип. 94. С. 159–171]. Робота евольвентних циліндричних зубчастих передач характеризується нерівномірним розподіленням навантаження як по висоті робочої ділянки зуба, так і по його довжині. Нерівномірність розподілення навантаження є однією з причин пошкодження передач і передчасного їх виходу з ладу. Це викликає шум зубчастих передач, передчасне викришування робочої поверхні зубів, яке в подальшому може призвести до їх поломки, обмежує можливість зменшення габаритних розмірів передач. Нерівномірність розподілення навантаження по довжині зуба виникає в результаті: неточності виготовлення та зборки зубчастих передач; пружних деформацій зубів, валів та підшипникових опор; температурних деформацій зубчастих передач. Нерівномірне розподілення навантаження по висоті зуба відбувається в результаті наявності динамічних навантажень, що виникають внаслідок похибок зачеплення, деформації зубів, зносу робочої поверхні зуба в процесі експлуатації, зміни сил тертя по висоті робочої ділянки зубів [Якимов А. А., Бовнегра Л. В. Уминский С. М., Барчанова Ю. С. Изменение температуры зубчатых колес при шлифовании на станке 5851 (MAAG). Оборудование и инструмент для профессионалов. 2019. № 5. С. 51–55; Уминський С. М., Лебедев Б. В., Осадчук П. І. Технологія конструкційних матеріалів. Одеса: ТЕС, 2018. 178 с.].
Для зменшення цих похибок вводять навмисне відхилення форми зуба від теоретичної відповідно до конкретних умов експлуатації — модифікацію. Існують два основні види модифікації — профільна та подовжня. Подовжня модифікація використовується там, де необхідно забезпечити сприятливе розташування плями контакту при роботі зубчастого колеса та шестерні, обмежити згин зубів передачі від навантаження та умов роботи (наприклад, нагріву), виключити кромочний контакт. Використання коліс модифікованої форми зуба дозволяє на 50–60 % підвищити їх навантажувальну спроможність при тих самих габаритах передачі, у 2–3 рази збільшити довговічність та на 4–6 ДБ зменшити рівень шуму. Найбільш розповсюдженою формою подовжньої модифікації зубів колеса є бочкоподібна. Бочкоподібна форма зуба зменшує рівень шуму та усуває концентрацію навантаження на його кінці внаслідок похибки кута нахилу лінії зуба чи непаралельності розташування осей спряженої пари зубчастих коліс при збиранні. Така форма зуба забезпечує сприятливе розташування плями контакту (середина довжини зуба). Величина бочкоподібної модифікації залежить від умов роботи передачі та зазвичай складає 0,0075–0,02 мм на одну сторону на 25 мм довжини зуба [Уминський С. М., Лебедев Б. В., Осадчук П. І. Технологія конструкційних матеріалів. Одеса: ТЕС, 2018. 178 с.].
Одним із розповсюджених способів отримання бочкоподібної модифікації зубів є обробка методом паралельного чи діагонального шевінгування на шевінгувальному верстаті через розгойдування стола із заготовкою. Проте в цьому випадку знижується жорсткість технологічної системи, що має негативний вплив на точність обробки. Авторами [Уминский С. М., Якимов А. А., Бовнегра Л. В., Барчанова Ю. С., Шихирева Ю. В. Влияние параметров станочного зацепления на точность отделки сопряженных поверхностей заготовки и инструмента. Оборудование и инструмент для профессионалов. 2019. № 3. С. 56–58; Уминський С. М. Вплив зміни кута перещування осей спряжених поверхонь на якість обробки методами вільного обкату. Механізація та електрифікація сільського господарства. 2009. Вип. 93. С. 418–426] описано спосіб отримання повздовжньої модифікації при тангенціальному методі шевінгування. У цьому випадку використовують похибки, що виникають на початку та в кінці циклу шевінгування. Застосування оправок зі змінюваною за довжиною жорсткістю дає можливість отримувати не тільки бочкоподібну форму зуба, а й зуби з одним або декількома перекосами по довжині. Одним із недоліків цього способу є те, що заготовки не повинні мати велике радіальне биття. Це призводить до нерівномірного розташування плями контакту та неоднакової площі на різних зубах заготовки. Подовжню модифікацію при тангенціальному та «короткоходовому» методах шевінгування також отримують шляхом використання облягаючих шеверів з певною кривизною за довжиною. Як і при тангенціальному шевінгуванні, ширина вінця шевера при врізному шевінгуванні повинна бути більше ширини вінця оброблюваної заготовки. Проте при виготовленні шеверів з великою шириною вінця виникають труднощі при їх фінішній обробці, а саме: при їх заточці має місце осипання шліфувального круга. Таким чином, обробка зубчастих коліс з великою шириною вінця (b1 > 40 мм) облягаючими шеверами ускладнена [Уминский С. М., Якимов А. А., Бовнегра Л. В., Барчанова Ю. С., Шихирева Ю. В. Влияние параметров станочного зацепления на точность отделки сопряженных поверхностей заготовки и инструмента. Оборудование и инструмент для профессионалов. 2019. № 3. С. 56–58; Уминський С. М. Вплив зміни кута перещування осей спряжених поверхонь на якість обробки методами вільного обкату. Механізація та електрифікація сільського господарства. 2009. Вип. 93. С. 418–426].
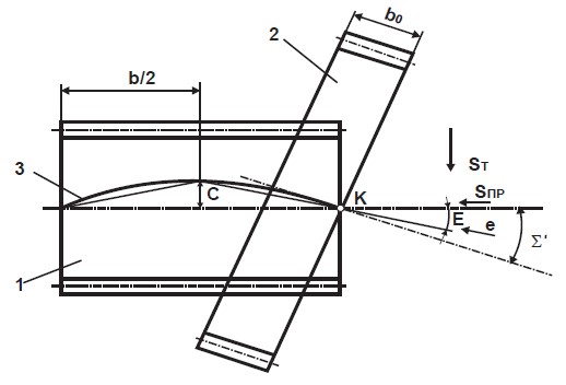
Аналітичні та експериментальні дослідження діагонального і тангенціального методів шевінгування дозволили розробити спосіб досягнення подовжньої модифікації зубів, при якому відсутні розгойдувальні рухи стола із заготовкою, що забезпечує підвищення жорсткості системи, розширює технологічні можливості обробки [Уминский С. М., Якимов А. А., Бовнегра Л. В., Барчанова Ю. С., Шихирева Ю. В. Влияние параметров станочного зацепления на точность отделки сопряженных поверхностей заготовки и инструмента. Оборудование и инструмент для профессионалов. 2019. № 3. С. 56–58; Уминський С. М. Вплив зміни кута перещування осей спряжених поверхонь на якість обробки методами вільного обкату. Механізація та електрифікація сільського господарства. 2009. Вип. 93. С. 418–426]. Для формування подовжньої модифікації заготовці надають подачу вздовж її осі та додаткову подачу нормальної осі заготовки (діагональну подачу). У вихідному положенні (рис. 1) інструмент 2 і заготовку 1 установлюють так, щоб центр схрещування осей інструмента та заготовки розміщався за торцем заготовки й у торця інструмента. Первісне налагодження верстата здійснюють аналогічно налагодженню для шевінгування зубчастих коліс методом повздовжньої подачі. Після установки центра схрещування осей у центральній частині заготовки й інструмента заготовку подають вздовж її осі на довжину:

де b1 і b0 — ширини зубцюватих вінців заготовки й інструмента, мм;
Σ1— кут схрещування осей у вихідному положенні, град.;
Sпр , SТ — довжини робочих ходів при подовжній і тангенційній подачах, мм.
У результаті здійснення таких додаткових переміщень досягається зсув центра схрещування осей у необхідне положення (див. рис. 1).

Рис. 1. Схема обробки для одержання бочкоподібної модифікації
Для формування бочкоподібної форми зуба заготовку подають уздовж її осі та роблять додаткову подачу відповідно осі заготовки (діагональну подачу). При обробці найбільше знімання припуску відбувається в точках P1, що відповідають врізанню та виходу шевера (рис. 2 — рис. 4).
Рис. 2. Зміна міжосевої відстані при обробці

Рис. 3. Схема для визначення кута діагональної подачі

Рис. 4. Схема для визначення кута схрещування осей зубчастого колеса та інструмента
У точці Р2 величина припуску, що видаляється, зменшується за рахунок збільшення на величину Δα до αбоч. При обробці в результаті зміни міжосьової відстані кут схрещування осей шевера та заготовки у вихідному положенні Σ1 відрізняється від розрахункового кута схрещування Σ, прийнятого при відомих діагональних методах [Уминский С. М., Якимов А. А., Бовнегра Л. В., Барчанова Ю. С., Шихирева Ю. В. Влияние параметров станочного зацепления на точность отделки сопряженных поверхностей заготовки и инструмента. Оборудование и инструмент для профессионалов. 2019. № 3. С. 56–58; Уминський С. М. Вплив зміни кута перещування осей спряжених поверхонь на якість обробки методами вільного обкату. Механізація та електрифікація сільського господарства. 2009. Вип. 93. С. 418–426].
Величина кута Σ1 визначається залежністю:

де α — міжосьова відстань, мм;
αn — нормальний кут зачеплення, град.;
ΔS — необхідна величина бочкоподібності, мм.
У вихідному положенні кут схрещування осей шевера і заготовки приймають рівним Σ1, а заготовці чи інструменту надають подачі Sпр і SТ (діагональну подачу під кутом ε) доти, поки центр схрещування осей шевера і заготовки не досягає центра заготовки (b1/2), а кут схрещування не досягне розрахункової величини Σ. Після цього напрямок тангенціальної подачі SТ (див. рис. 1) змінюють на протилежний. Кут діагональної подачі ε визначається залежністю:
При багатопрохідному шевінгуванні (рис. 5) після завершення чергового проходу шевер встановлюють у вихідне положення, переміщуючи його методом подовжньої подачі заготовки на величину:
![]()
і тангенціальної подачі заготовки на величину:
![]()
Рис. 5. Схема для здійснення багатопрохідного шевінгування
Потім заготовці або інструменту надають діагональну подачу під кутом ε у напрямку, рівнобіжному подачам попереднього проходу. Такий спосіб дозволяє обробляти зубчасті колеса з подовжньою модифікацією зубів діагональним методом без використання спеціальних пристосувань і пристроїв, чим досягається розширення технологічних можливостей діагонального шевінгування. Такий спосіб шевінгування може бути реалізований на верстатах, що забезпечують двокоординатні переміщення стола в горизонтальній площині. На зубошевінгувальних верстатах, у яких відсутнє переміщення по другій координаті, описаним способом можна одержувати подовжню модифікацію зубів конічної форми. При цьому, налагодження верстата не відрізняється від розглянутого [Уминский С. М., Якимов А. А., Бовнегра Л. В., Барчанова Ю. С., Шихирева Ю. В. Влияние параметров станочного зацепления на точность отделки сопряженных поверхностей заготовки и инструмента. Оборудование и инструмент для профессионалов. 2019. № 3. С. 56–58; Уминський С. М. Вплив зміни кута перещування осей спряжених поверхонь на якість обробки методами вільного обкату. Механізація та електрифікація сільського господарства. 2009. Вип. 93. С. 418–426].
Для формування бочкоподібної форми зуба при шевінгуванні заготовці необхідно надавати подачу вздовж її осі та додаткову подачу за нормальною віссю заготовки (діагональну подачу). У результаті зміни міжосьової відстані при шевінгуванні кут схрещування осей шевера та заготовки у вихідному положенні Σ1 відрізняться від розрахункового кута схрещування Σ , прийнятого при відомих діагональних методах.